螺杆泵规格型号及结构图精选
字数:499字 来源:上海螺杆泵厂 作者:沈泉小编 发布时间:2022-01-24 00:15:27 阅读次数:
导读:螺杆泵规格型号及结构图 螺杆泵种类有着很大,常见的就有G系列单螺杆泵、G50-1 不锈钢耐腐蚀螺杆泵、G20-1 不锈钢螺杆泵、G25-2 单螺杆泵 淤泥螺杆泵等。其中不同的螺杆泵都是应用于不同的环境,而用户若是能够详细的了解 螺杆泵 规格型号及结构图 ,那么就可以很快的根据自身的实际情况来选择出合适的水泵型号,让水泵的性能能够发出完全展现出来。 由于螺杆型号种类之...
螺杆泵规格型号及结构图
螺杆泵种类有着很大,常见的就有G系列单螺杆泵、G50-1 不锈钢耐腐蚀螺杆泵、G20-1 不锈钢螺杆泵、G25-2 单螺杆泵 淤泥螺杆泵等。其中不同的螺杆泵都是应用于不同的环境,而用户若是能够详细的了解螺杆泵规格型号及结构图,那么就可以很快的根据自身的实际情况来选择出合适的水泵型号,让水泵的性能能够发出完全展现出来。
由于螺杆型号种类之多,厂家就中挑选出其中一款螺杆泵来为大家进行简单的讲解。
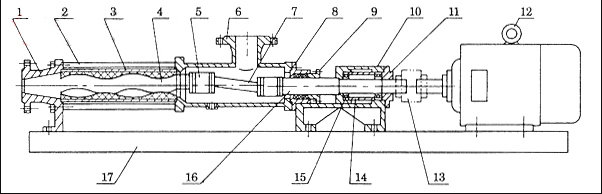
G系列单螺杆泵结构图:


G型单螺杆泵:介质的适应性强、流量平稳、压力脉动小。自吸能上乘,这是其它任何泵种所不能代替的。目前我单位的产品已自成一体系,压力为0.4~1.2Mpa,可满足广大用户对单螺杆泵的不同需求。
G系列单螺杆泵技术参数:流量:0-150m3/h,扬程:60-120m,功率:0.75-37kw,转速:500-960r/min,口径:20-135MM,温度:-15-200℃。
综上所述,以上就是关于螺杆泵规格型号及结构图的简单介绍,希望能够帮助到大家。若是大家还想了解更多相关泵类知识,可持续关注本站,沈泉将会为大家时时更新更多相关泵类知识内容。
免责声明:部分文章信息来源于网络以及网友投稿,本网站只负责对文章进行整理、排版、编辑,是出于传递 更多信息之目的,并不意味着赞同其观点或证实其内容的真实性,如本站文章和转稿涉及版权等问题,请作者在及时联系本站,我们会尽快处理。
本文标题: 螺杆泵规格型号及结构图本文地址://www.999jzw.com/QA/885.html
本文标题: 螺杆泵规格型号及结构图本文地址://www.999jzw.com/QA/885.html





