氟塑料合金化工离心泵_氟塑料合金泵结构图精选
一、氟塑料合金化工离心泵产品概述
氟塑料合金化工离心泵,又称IHF,第三代改良产品,适用于长期输送任意浓度的强酸、碱、盐、强氧化剂等多种腐蚀性介质,其壳体采用金属外壳内衬聚全氟乙丙烯(FEP)及过流部件全部用塑料合金(PTFE、FEP)制成,集多种塑料泵之优点,具有耐腐蚀性强、耐磨性好、机械强度高、不老化、无毒素分解特点。在结构设计上,加粗了轴径、缩短了悬臂比,消除了化工泵的弊病,提高了运行稳定性,降低了维修费用和运行成本,泵的进出口均采用铸钢体加固,以增强了泵的耐压性。该泵具有耐腐、耐磨、耐高温、不氧化、机械强度高、运转平稳、结构先进合理、密封性能严格可靠、拆卸检修方便、使用寿命长等优点。

二、氟塑料合金化工离心泵产品优点
①氟塑料(PTFE、FEP、PFA)是耐腐蚀材料(俗称:塑料王),可输送任意浓(强)度的酸、碱、氧化剂等腐蚀性介质而毫不受损。
②泵体、叶轮和泵盖采用CFD计算机流体力学设计水力部件进行。
③IHF衬氟离心泵具有耐腐、耐高温、不老化、机械强度高、高效节能等优点。
④卧式安装,结构紧凑、可与标准化工离心泵互换,方便用户更换和使用。
三、氟塑料合金化工离心泵产品用途
广泛应用于石油、化工、制酸、制碱、冶炼、稀土、农药、染料、医药、造纸、电镀、电解、酸洗、无线电、化成箔、科研机构、G防工业等生产流程中输送腐蚀性液体,尤其适用于强酸碱、有机容剂和贵重液体的输送。
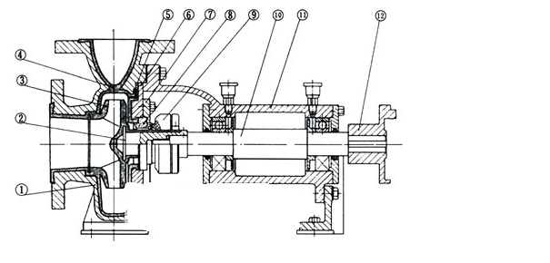
四、氟塑料合金化工离心泵结构图以及说明

| 序号 | 名称 | 材料 |
| 1 | 泵体 | HT200 |
| 2 | 叶轮骨架 | 45#钢 |
| 3 | 叶轮 | 聚全氟乙丙烯 |
| 4 | 泵体衬里 | 聚全氟乙丙烯 |
| 5 | 泵盖衬里 | 聚全氟乙丙烯 |
| 6 | 泵盖 | HT200 |
| 7 | 机封盖压 | 1Cr18Ni9Ti |
| 8 | 静环 | 99.9%氧化铝陶瓷 |
| 9 | 动环 | 填充四氟乙烯 |
| 10 | 泵轴 | 3Cr13 |
| 11 | 轴承体 | HT200 |
| 12 | 联轴器 | HT200 |
本文标题: 氟塑料合金化工离心泵_氟塑料合金泵结构图本文地址://www.999jzw.com/selection/528.html





